
“巨头下水”了?在网贷吹起备案风的当下,京东疑似于近日收购一家网贷平台。
4月10日,记者通过企查查获悉,网贷平台易利贷大股东变更为京海卓创(厦门)数字科技有限公司,疑似实际控制人为刘强东。
随后,记者向京东方面核实消息的准确性,并试图了解京东在吹起备案风的时间节点收购网贷平台的目的。京东金融方面相关人士先是对《国际金融报》记者表示,“去核实一下”,但之后表示,“这个事情应该是不会有官方回应”。
实际上,京东布局网贷早已不是秘密。早在2013年京东金融就曾挂出过网贷相关岗位的招聘信息。京东金融App财富板块及“京东小金投”板块也曾分别上线“和丰网贷”和“旭航网贷”产品。
苏宁金融研究院互联网金融研究中心主任薛洪言对《国际金融报》记者表示,预计未来还会有巨头直接或间接收购网贷平台。
薛洪言认为,2020年后,网贷备案尘埃落定,成为持牌金融机构。作为唯一未被巨头大规模染指的行业,未来网贷也将无可避免地成为巨头们跑马圈地的战场。
疑似新增一家网贷平台
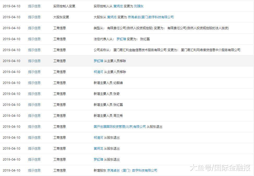
企查查数据显示,厦门易汇利网络借贷信息中介服务有限公司近日发生多项工商信息变更,原股东全部退出。公司名称由厦门易汇利金融信息技术服务有限公司变更为厦门易汇利网络借贷信息中介服务有限公司(下称“易利贷”)。

易利贷大股东由原董事长黄炳龙变更为京海卓创(厦门)数字科技有限公司(下称“厦门京海卓创”),易利贷成厦门京海卓创全资子公司。

依据企查查信息,厦门京海卓创控股股东为天津大新君和网络科技有限公司(下称“天津大新君和”),持股比例达50.62%,而天津大新君和为北京京东金融科技控股有限公司(下称“京东数科”)100%控股的子公司。变更后,易利贷疑似实际控制人为刘强东,总持股比例为14.01%。

此外,易利贷法定代表人也由原联合创始人罗虹璋变更为张红磊,同时新增执行董事张奇、经理张红磊、副总经理纪毅峰、监事周兰秀。
对此,记者向京东方面核实消息的准确性,并试图了解京东在吹起备案风的时间节点收购网贷平台的目的。京东方面未就此作出回应。
官网显示,易利贷于2014年1月7日成立,注册资本2000万元,实缴注册资本1000万元,经营范围为“从事网络借贷信息中介业务”。截至2019年3月末,借贷余额622.1555万元,累计出借人数量3068人,累计借贷金额6.09亿元,2019年3月累计成交总额172.0973万元,累计借贷笔数859笔。
已低调布局两家平台
实际上,京东“惦记”网贷已有些时日。早在2013年京东金融就曾挂出过网贷相关岗位招聘信息。此后的2015年至2017年在招聘网站也还能找到京东招聘网贷相关职位信息。
2017年11月16日,原厦门市金融工作办公室发布一则《关于网贷机构备案公示的通知》,曝光了京东旗下一家网贷平台。该通知公示了5家拟备案的网贷企业,其中一家名为京东旭航(厦门)网络借贷信息中介服务有限公司(下称“旭航网贷”)引起高度关注。
原因之一是,有报道指出,厦门监管机构为旭航网贷一路开绿灯。因为当时旭航网贷并未实际展业,厦门金融办相关负责人曾向网贷之家表示,京东旭航为新设立公司,其按照新设机构的标准进行备案。
2018年5月,原厦门金融办曾在官网发布通告,要求对“2016年8月24日后新设立的网贷机构或新从事网络借贷业务的网贷机构,在本次网贷风险专项整治期间,原则上不予备案登记”,并发布了厦门首批不予验收备案的440家网贷机构名单。但注册于2017年9月27日的旭航网贷,并不在440家不予备案的网贷机构名单里。
值得注意的是,工商资料显示,京东在旭航网贷和易利贷的控股路径上是一致的。旭航网贷母公司为天津大新君和,天津大新君和是京东数科的全资子公司,与易利贷如出一辙。
2018年12月,京东金融App财富板块上线了“旭航网贷”的产品。同月,京东金融App中的“京东小金投”板块还上线了一款名为“和丰网贷”的产品。资料显示,和丰网贷隶属北京和丰永讯金融信息服务有限公司,是京东数科的“亲儿子”,2015年11月在北京市海淀区注册成立,注册资本金5000万元,最终受益人为刘强东。
而后,旭航网贷与和丰网贷经历了几轮“下线”。目前没有关于旭航网贷与和丰网贷上线与备案的消息,此前页面显示旭航网贷与和丰网贷所有标的全部售罄。
有不愿具名的网贷分析人士对《国际金融报》记者表示,“实际上,京东在网贷备案吹风的当下,又布局一家网贷平台就是冲着网贷备案去的。因为此前布局的网贷平台可能难以顺利备案,多收一家,最终看备案怎么操作再决定用相应的主体,也是为了增加备案的成功率。”
麻袋研究院高级研究员王诗强在接受《国际金融报》采访时也表示,备案在即,一旦获得备案,牌照价值将大幅度上升。因此,此时收购网贷平台成了最佳选择。
王诗强认为,此前京东自己设立的两家平台并不合适备案。因为根据网贷相关监管政策,2016年8月24日以后新设立或新从事网络借贷业务及自始未纳入专项整治的机构,原则上不予整改验收及备案登记。
此外,王诗强认为京东比较看重网贷牌照,因为京东集团拥有大量的个人和小微企业客户,急需提供消费金融和信贷服务,主要参与方有银行、消费金融公司、网贷以及小贷。其中,银行和消费金融公司牌照难以获得,小贷公司杠杆低、融资难、区域经营等限制较多、展业较难。网贷限制较少,是参与消费金融和小微企业贷比较合适的机构。
(国际金融报记者 余继超)[url=暴风骤雨之下, 京东再收一家网贷平台, 意欲何为? http://news.uc.cn/a_168300828107189501/?from=UCPC]暴风骤雨之下, 京东再收一家网贷平台, 意欲何为? http://news.uc.cn/a_168300828107189501/?from=UCPC[/url]


雷达卡




京公网安备 11010802022788号







