套利交易又叫套期图利,是指利用期现货的短期利率的差异,将资金由利率较低的区间转移到利率较高的区间,以从中获得利息差额收益的一种交易。在当前数字货币交易当中,主要的套利方式有现货搬砖套利、统计套利、跨期套利等,大家可以参考OKEx Research此前的文章《套利交易和币市套利》,今天我们给大家介绍另一种套利方式。
币币杠杆账户借币利率与永续合约账户资金费率之间存在套利机会,即资金费率套利,简单讲就是在币币杠杆功能区中借币(目的是最大限度提高资金利用率),然后再在币币杠杆和永续合约中同时进行两笔行情相关、方向相反、数量相当、盈亏相抵的交易,类似期现套利,而资金费率套利的目标则是赚取永续合约交易中的资金费率收益。
要想实现资金费率套利,对交易平台的功能有一定要求,需有币币杠杆交易功能(能够借币)和永续合约(有资金费率),以OKEx平台上的实际交易为例来具体阐述进行资金费率套利的交易策略。
一、OKEx借币利率与资金费用机制
1. 借币利率
借币方可向平台借币,以其在OKEx杠杆账户中的资产作为杠杆交易的担保物,当借币成功后,将即时进行资产交割并计息,借入方可提前偿还债务,用户每7天必须还息一次,用户可以主动提前还息。

2. 资金费用机制
OKEx永续合约通过资金费用机制,来使永续合约市场价格锚定现货价格。资金费用由用户之间收取,用户所能收取的实际资金费用也取决于系统从对手方账户上扣除费用的总额。
资金费用每8小时收取一次,收取时间在每天合约结算之后的4:00、12:00和20:00。只有在该时刻持有仓位时,用户才需要支付或收取资金费用。如果在费用收取之前平仓,则不需要支付资金费用。
理论资金费用=持仓仓位价值*资金费率,当资金费率为正数时,多头支付空头;当资金费率为负数时,空头支付多头。
资金费率=Clamp(MA(((合约买一价+合约卖一价)/2-现货指数价格)/现货指数价格 - Interest), a, b)
*Interest当前为0
*BTC、ETH、EOS、XRP、BCH、BSV、ETC、LTC、TRX永续合约:a=-0.3%,b=0.3%
二、策略介绍
• 主要逻辑与观点:
币币杠杆账户借币利率与永续合约账户资金费率之间存在套利机会
• 前提:
1. 借币利率以3折点卡计价
2. 币币交易手续费VIP3 taker:0.07%
3. 永续合约交易手续费VIP3 taker:0.05%
三、套利操作分析
以TRX为例,2019-07-15日开始交易,在OKEx币币交易杠杆交易区借入1000 USDT等值的TRX。

2019-07-15至2019-07-21历史借币利率,以0.1%计
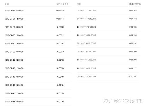
2019-07-15至2019-07-21历史资金费率
2019-07-15至2019-07-21历史订单情况
![]()
注:借1000 USDT等值的TRX,现货做空2/3,相当于666.67 USDT,划转1/3至永续账户,开多66张永续合约,相当于660 USD,两者几乎Delta中性。(Delta中性策略是指保持组合的Delta为0,使组合价值不受标的资产价格变动影响的中性套期保值策略。)

7日收益情况(以TRX计)
2019-07-15至2019-07-21,永续资金费总收益扣除借币利息总支出和交易手续费总支出,得出7日资金费率套利纯收益575.4865 TRX(若借币利率没有打折,纯收益约为386.73 TRX),7日回报约1.66%(按照1000 USDT等值资本金计算)。
四、上述套利过程中可能的风险
• 资金费率波动风险
例如:2019-07-21 12:00:00资金费率由负变正,是否需要平仓可根据资金费率预测与平仓费用决定。
• USDT价格波动风险
USDT vs USD风险暴露,开多相当于买入USDT,卖出USD。
• 强平风险
永续价格下跌30%以及现货价格上涨2.17倍均会造成爆仓强平,将打破期现订单的Delta中性,使行情价格变成主导盈亏的主要因素,套利模型被破坏。
• 分摊风险
自产品上线以来未发生过分摊。
五、改进方案
1. 不持有仓位,每次永续结算前借币开仓,结算收到资金费后,尽快平仓还币。
2. 提高币币杠杆账户做空数量,增加永续账户杠杆,提高有效杠杆。
以上在OKEx平台上进行资金费率套利的交易策略,与绝对价格水平之间的关系不大,通过对价格波动的对冲,赚取无风险或小风险的利润,希望对大家有所启发。


雷达卡




京公网安备 11010802022788号







