知识管理系统
摘要
随着互联网信息的迅猛发展,无纸化作业成为了一种潮流。为应对这一趋势,开发了一个专门适应师生作业交流模式的网站。本文详细介绍了知识管理系统的开发全过程。通过分析企业对知识管理系统的需求,提出了一套计算机管理知识管理系统的方案。文章涵盖了系统分析部分,包括可行性分析等;系统设计部分则重点介绍了功能设计和数据库设计。
本知识管理系统设有管理员和用户两种角色。管理员的权限包括:个人中心、用户管理、文章分类管理、文章信息管理、资料分类管理、资料下载管理、问答管理、论坛交流、留言板管理和系统管理等。用户的权限则有:个人中心、文章信息管理、资料下载管理、问答管理和我的收藏管理。因此,该系统具有较高的实用性。
本系统采用B/S架构模式,后台开发技术选择了Spring Boot框架,前端使用VUE框架,数据库设计基于MYSQL,确保了系统的稳定性和可靠性。系统界面清晰、操作简便,功能全面,使得知识管理更加系统化和规范化。
关键词
知识管理系统;Spring Boot框架;MYSQL数据库;VUE框架
Abstract
With the swift advancement of information on the Internet, paperless assignments have become a trend. To address this issue, a website specifically tailored to the communication mode between teachers and students has been developed. This article provides a comprehensive overview of the development process of the knowledge management system. By examining the requirements of enterprises for knowledge management systems, a computer-based knowledge management program was proposed. The article covers the system analysis section of the knowledge management system, including feasibility studies, etc., while the system design part focuses on function design and database design.
This knowledge management system features two roles: administrator and user. Administrator functions include: Personal center, user management, article classification management, article information management, data classification management, data download management, question and answer management, forum communication, message board management, system management, etc. User functions encompass personal center, article information management, data download management, question and answer management, and my collection management. As such, it demonstrates a certain level of practicality.
本平台采用B/S模式体系,后端开发技术选用Spring Boot框架,前端则基于VUE框架,数据库设计和开发采用了MYSQL,全面确保系统的稳定性。该系统具备界面清晰、操作简便及功能完备的特点,有助于知识管理系统的规范化与标准化。
关键词:
知识管理系统;Spring Boot框架;MYSQL数据库;VUE框架
目录
- 1系统概述
- 1.1 研究背景
- 1.2研究目的
- 1.3系统设计思想
- 2相关技术
- 2.1?MYSQL数据库
- 2.2?B/S结构
- 2.3?Spring Boot框架简介
- 2.4 VUE框架
- 3系统分析
- 3.1可行性分析
- 3.1.1技术可行性
- 3.1.2经济可行性
- 3.1.3操作可行性
- 3.2系统性能分析
- 3.2.1 系统安全性
- 3.2.2 数据完整性
- 3.3系统界面分析
- 3.4系统流程和逻辑
- 3.1可行性分析
- 4系统概要设计
- 4.1概述
- 4.2系统结构
- 4.3.数据库设计
- 4.3.1数据库实体
- 4.3.2数据库设计表
- 5系统详细实现
- 5.1 管理员模块的实现
- 5.1.1?用户管理
- 5.1.2?文章分类
- 5.2 用户模块的实现
- 5.2.1 资料分类
- 5.2.2 文章信息
- 5.3.1 论坛交流
- 5.3.2 资料下载
- 5.1 管理员模块的实现
- 6系统测试
- 6.1概念和意义
- 6.2特性
- 6.3重要性
- 6.4测试方法
- 6.5?功能测试
- 6.6可用性测试
- 6.7性能测试
- 6.8测试分析
- 6.9测试结果分析
- 结论
- 致谢语
- 参考文献
1系统概述
1.1 研究背景
当前互联网技术迅速发展,网络已经覆盖全球。通过互联网发布的信息能够快速便捷地传播至世界的每一个角落,并且互联网可以传递多种类型的信息,如文字、图片、声音和视频等。因此,互联网成为信息传播的主要途径,各种社会信息纷纷利用互联网进行广泛传播,互联网对社会的影响日益增加。
随着计算机技术的进步及网络的普及,互联网已成为人们获取信息的重要平台。21世纪是信息化的时代,信息交流的重要性愈加突出。因此,开发适合的知识管理系统成为了企业的必然选择。这不仅便于管理人员有效管理知识系统,提高信息管理和查询效率,还能更好地服务于用户。
1.2 研究目的
互联网技术的迅速发展带来了网络时代的到来,网络信息将对现代社会产生深远影响。各行各业在日常的企业经营管理中也逐渐向规范化和网络化方向发展。知识管理系统的信息化水平体现在通过互联网与信息技术的应用于经营管理和决策过程中,以现代化工具替代传统手工操作。无疑,采用网络化的信息管理模式使信息管理更加先进、高效且科学,促进了信息交流的快速化。
使用书籍作为信息载体已显得过时,这种方式效率低下,并且随着时间的推移,积累的数据不易保存,对查询、更新和维护造成困难。此外,在数据交接方面也存在较大风险。采用电子化的存储方式可以显著改善这些问题,为用户的查询提供便利,因此设计知识管理系统迫在眉睫,能够提升企业在信息技术领域的展示水平。
1.3 系统设计思想
成功的网站应明确建设目的、确定功能和规模,并进行必要的市场分析等。只有详细的规划才能避免网站建设中可能出现的诸多问题,确保建设过程顺利进行。大型计算机网站系统需要正确的设计理念指导,通过合理选择数据结构、网络架构、操作系统及开发环境,构建一个完整的网络体系,以充分发挥计算机信息管理的优势。本系统的设计依据实际用户需求,遵循以下原则。
有效性:有效性的含义包括两个方面——有用性和可用性。有用性指网站具备满足潜在用户需求的功能;而可用性则指通过网站操作可以实现特定的目标。若一个站点无法正常运行或设计极差,则不能称之为好站。有效的网站应具有高效益,易于学习,并能在实现用户目标时提供满意体验且避免错误。
高可靠性:实用的网站必须具备可靠性。本设计通过先进的网络架构设计及软硬件优化选择,确保网站的可靠性和容错性。
高安全性:在设计过程中,将充分利用网络软、硬件提供的多种安全措施,确保用户能够共享资源,同时考虑系统及数据资源的容灾、备份和恢复需求。为系统提供了强大的数据库备份工具,确保关键数据的安全性。通过设置不同的操作权限级别,由管理员进行配置,以保证每一步的操作权限。
先进性:采用当前国际上最前沿的开发技术,使用JSP开发技术,并选择MYSQL作为网站后台数据库。这些技术的应用降低了系统的运营成本,增强了系统的稳定性和维护便利性。
遵循标准技术:所有设计均按照现行国际标准执行,以增强系统的开放性。
外观与技术平衡:系统采用Web风格的界面设计,界面友好且美观,使用便捷,易于学习。网站设计的核心在于实现外观和技术的和谐统一。不吸引人的网站尽管功能可能强大,但难以激发用户的兴趣;反之,若外观看似出色而技术支持不足,则会让用户感到失望。因此,需要确立一个清晰且持续的关系,确保外观与站点目的相匹配,并针对不同类型网站采用不同的处理方法。
相关技术
MYSQL数据库
MySQL是一个真正支持多用户的、多线程的SQL数据库服务器。作为基于SQL的客户/服务器模式的关系型数据库管理系统,它具有功能强大、使用便捷、管理容易、安全可靠、运行快速、多线程处理、跨平台兼容、全面网络化、稳定性高等特点,非常适合用于Web站点或其他应用程序的数据后端开发。此外,用户可利用多种语言编写访问MySQL数据库的程序。作为开源运动的一个成果,MySQL关系型数据库管理系统越来越受到人们的欢迎,应用领域也日益广泛。其快速和易用的特点使MySQL特别适合于Web站点或应用程序的数据后端开发。
MYSQL数据库具备以下特性:
- 在C和C++中进行了使用和测试,确保了源代码的编译器便携性和灵活性。
- 支持多种操作系统,如AIX、FreeBSD、HP-UX、Linux、Mac OS、Novell Netware、OpenBSD、OS/2、Solaris、Windows等。
- 提供了用于不同编程语言(包括C、C++、Python、Java、Perl、PHP、Eiffel、Ruby和Tcl)的API接口。
- 支持多线程,有效利用CPU资源。
- 通过优化SQL查询算法,显著提高搜索速度。
- 客户端和服务器可以使用任何独立编程环境进行编程,并且支持多种语言,如中文(GB2312、BIG5)、日文、一般基金等,可以在数据表和其他软件中嵌入shift_jis编码的名称。
- 支持通过TCP/IP、ODBC和JDBC连接到其他数据库。
- 提供了用于管理和优化数据库操作的各种管理工具。
- 能够在大型数据库中处理数千万条记录。
B/S结构
B/S架构是一种基于互联网系统的软件系统开发框架,是目前在软件系统开发中广泛采用的一种架构。B/S架构的广泛应用打破了C/S架构的局限性,为基于网络的软件系统提供了良好的支持。随着计算机网络技术的发展,B/S架构也在不断进步和更新。随着互联网的进一步发展,大多数管理系统不仅需要在一臺电脑上使用,还需要在接入互联网的其他电脑上使用。在此背景下,基于B/S架构的软件系统设计方法得到了更广泛的应用,并且基础部分也在持续更新。
B/S架构利用操作系统中的浏览器进行操作,不需要安装特定的客户端程序。其运行方式是将开发好的软件系统部署到远程服务器上,在完成部署后,可以从任何接入互联网的电脑访问该软件系统。B/S架构极大地简化了管理系统的使用过程,为用户带来了极大的便利。
在三层结构的B/S(Browser/Server,浏览器/服务器)系统中,用户可以通过浏览器向分布在网络上的多个服务器发送请求。B/S系统显著减少了客户端的工作量,客户机上只需安装少量客户端运行软件,而大量的工作由服务器承担,包括数据库访问和应用程序执行。
B/S架构的不断发展主要得益于WWW浏览器技术的进步,并结合了多种浏览器脚本语言,使得通用浏览器能够实现原本复杂的专有软件功能,同时降低了开发成本。B/S系统通常包含表示逻辑层、控制逻辑层和数据展现层三个相对独立但相互关联的层次。
Spring Boot框架简介
Spring Boot是由Pivotal团队提供的新框架,旨在简化新的Spring应用的初始搭建及开发过程。该框架采用了特定的方式进行配置,使开发者无需定义样板化的配置文件。通过这种方式,Spring Boot致力于在快速应用开发领域成为领导者。
SpringBoot可以与传统的Java开发工具结合使用,或者作为命令行工具安装。无论哪种方式,都需要Java SDK 1.6或更高版本,本项目使用的是JDK 1.8版本。
2.4 VUE框架
Vue(发音类似“view”)是一个用于构建用户界面的渐进式框架。与其它大型框架不同,Vue 设计为可以自底向上逐步应用。Vue 的核心库专注于视图层,不仅易于学习,还便于与其他第三方库或现有项目集成。此外,当与现代工具链及各类辅助库结合使用时,Vue 也能完全支持复杂的单页应用程序的开发。
系统分析
3.1 可行性分析
通过初步调查和分析本知识管理系统的目标,提出并论证了可行性方案。主要从技术、经济和操作等方面进行评估。
3.1.1 技术可行性
该知识管理系统采用Java作为开发语言,并使用Spring Boot框架,基于Web平台的B/S架构系统。
- Java提供了稳定性能、优良升级能力、快速开发和简便管理等优势。整个系统帮助用户完成了大部分非核心的琐碎任务。
- B/S模式系统的开发已经相当成熟。
- 众所周知,Java是一种面向对象的语言。开发者可以在Eclipse平台上方便地应用已知的解决方案。
因此,知识管理系统在技术上具有较高的可行性,并且开发团队掌握了必要的技能,使得该系统的技术实现是可行的。
3.1.2 经济可行性
本知识管理系统使用的软件均为开源版本,这不仅减少了大量的精力和资源投入,降低了开发成本,而且对计算机配置的要求很低,即使是旧电脑也能满足需求。因此,在经济上是完全可行的。
3.1.3 操作可行性
本知识管理系统的界面简洁且易于操作,任何有基本电脑使用经验的人都可以轻松访问和操作该系统。具有易用、易管理和良好交互性的特点,在操作上非常简便,因此在操作上具有很高的可行性。
综上所述,此系统开发目标明确,技术、经济和操作方面均具备较高的可行性,并且投入少、功能齐全、管理便捷,系统的开发是完全可行的。
3.2 系统性能分析
3.2.1 系统安全性
知识管理系统需严格控制管理权限,具体要求如下:
- 要对系统进行管理,首先需要通过用户名和密码登录。未经授权的用户无法以任何方式访问或操作系统的数据和信息,确保了系统的安全性和准确性。
- 在实现过程中为不同的角色设定权限等级,不同权限级别的用户不能越级操作。
3.2.2 数据完整性
- 所有记录信息必须完整,不允许为空。
- 数据之间的关联需保持准确无误。
- 相同的数据在不同记录中应一致。
3.3 系统界面分析
当前,用户界面设计已成为评估软件质量的重要标准。一个优秀的用户界面能够提升用户的使用信心和兴趣,从而提高工作效率。JSP技术以Java语言作为脚本语言,为服务器端的JAVA库单元提供了接口,用于服务HTTP应用程序,便于创建动态页面。
1. 输出设计
输出涉及将输入的基本信息处理成高质量的有效信息,并赋予一定格式提供给管理者使用。这是输出设计的主要任务和目标。系统开发过程与实施过程相反,是从输出设计到输入设计。这是因为输出表格直接关联用户,设计的目的是确保使用者能够方便地利用这些表格,并及时反映各部分的重要信息。输出设计应综合考虑不同管理层的需求,同时保持简洁,避免提供不必要的信息。
2. 输入设计
输入数据的收集和录入相对复杂,需要大量的人力和设备支持,并且容易出错。一旦输入的数据不准确,处理后的输出将放大这些错误,因此输入数据的准确性对整个系统的性能至关重要。
输入设计应遵循以下原则:
- 尽量减少满足处理要求的最小输入量。输入越少,出错率和准备时间也会越低。
- 尽可能简化输入准备工作和过程,以降低错误发生率。
- 尽早检查输入数据(接近数据产生点),以便及时更正错误。
- 尽快将输入数据转换为处理所需的格式,防止因媒介转移而可能产生的转录错误。
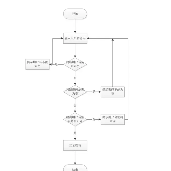
3. 系统流程和逻辑
图3-3 登录流程图
图3-4 修改密码流程图
4 系统概要设计
4.1 概述
该体系采用了B/S架构(Browser/Server,浏览器/服务器模式)和基于Web服务的两种操作方式,适用于互联网环境下的模型结构。只要用户能够接入互联网,在任何时间和地点都可以使用此系统。系统工作原理图如图4-1所示:
图4-1 系统工作原理图
4.2 系统架构
本体系是基于B/S架构的网站平台,设计了管理员功能结构图如下图所示:
图4-2 管理员功能结构图
该系统同样基于B/S架构,用户功能结构图如下面的图表所示:
图4-3 用户功能结构图
4.3 数据库设计
4.3.1 数据库实体
概念设计的目标是创建一个反映某个组织部门信息需求的数据库系统概念模型,该模型独立于数据库系统的逻辑框架、数据库管理系统(DBMS)和计算机系统。
概念模式的设计方法是在需求分析的基础上,使用概念数据模型(如E-R模型)来表示数据及其相互关系,设计出符合用户信息需求和处理要求的数据库系统概念模式。这种设计旨在精确描述应用领域中的信息模式,既方便转换为数据库系统的逻辑模型,也易于被用户理解。数据库系统概念模型是面向实际世界的数据模型,无法直接应用于数据库系统的实现过程中。在此阶段,用户可以参与并评估数据库系统的设计,有助于确保设计符合用户的需求。在概念模式的设计中,E-R模型是最常用的方法之一。本系统的E-R图如下所示:
- 用户信息的实体属性图如图4.12所示:
图4.12 用户信息实体属性图
- 文章实体属性图见下图4.13:
图4.13 文章实体属性图
- 管理员实体属性图如下所示:
图4.14 管理员实体属性图
4.3.2 数据库设计表
知识管理系统需要后台数据库,以下详细介绍各表格的详细信息:
| 字段 | 类型 | 空 | 默认值 | 注释 |
|---|---|---|---|---|
| id(主键) | bigint(20) | 否 | - | 主键 |
| addtime | timestamp | 否 | CURRENT_TIMESTAMP | 创建时间 |
| refid | bigint(20) | 否 | - | 关联表id |
| userid | bigint(20) | 否 | - | 用户id |
| nickname | varchar(200) | 是 | NULL | 用户名 |
| content | longtext | 否 | - | 评论内容 |
| reply | longtext | 是 | NULL | 回复内容 |
| 字段 | 类型 | 空 | 默认值 | 注释 |
|---|---|---|---|---|
| id(主键) | bigint(20) | 否 | - | 主键 |
| addtime | timestamp | 否 | CURRENT_TIMESTAMP | 创建时间 |
| refid | bigint(20) | 否 | - | 关联表id |
| userid | bigint(20) | 否 | - | 用户id |
| nickname | varchar(200) | 是 | NULL | 用户名 |
| content | longtext | 否 | - | 评论内容 |
| reply | longtext | 是 | NULL | 回复内容 |
| 字段 | 类型 | 空 | 默认值 | 注释 |
|---|---|---|---|---|
| id(主键) | bigint(20) | 否 | - | 主键 |
| addtime | timestamp | 否 | CURRENT_TIMESTAMP | 创建时间 |
| refid | bigint(20) | 否 | - | 关联表id |
| userid | bigint(20) | 否 | - | 用户id |
| nickname | varchar(200) | 是 | NULL | 用户名 |
| content | longtext | 否 | - | 评论内容 |
| reply | longtext | 是 | NULL | 回复内容 |
| 字段 | 类型 | 空 | 默认值 | 注释 |
|---|---|---|---|---|
| id(主键) | bigint(20) | 否 | - | 主键 |
| addtime | timestamp | 否 | CURRENT_TIMESTAMP | 创建时间 |
| title | varchar(200) | 是 | NULL | 帖子标题 |
| content | longtext | 否 | - | 帖子内容 |
| parentid | bigint(20) | 是 | NULL | 父节点id |
| userid | bigint(20) | 否 | - | 用户id |
| username | varchar(200) | 是 | NULL | 用户名 |
| isdone | varchar(200) | 是 | NULL | 状态 |
| 字段 | 类型 | 空 | 默认值 | 注释 |
|---|---|---|---|---|
| id(主键) | bigint(20) | 否 | - | 主键 |
| addtime | timestamp | 否 | CURRENT_TIMESTAMP | 创建时间 |
| userid | bigint(20) | 否 | - | 留言人id |
| username | varchar(200) | 是 | NULL | 用户名 |
| content | longtext | 否 | - | 留言内容 |
| reply | longtext | 是 | NULL | 回复内容 |
| 字段 | 类型 | 空 | 默认值 | 注释 |
|---|---|---|---|---|
| id(主键) | bigint(20) | 否 | - | 主键 |
| addtime | timestamp | 否 | CURRENT_TIMESTAMP | 创建时间 |
| userid | bigint(20) | 否 | - | 用户id |
| refid | bigint(20) | 是 | NULL | 收藏id |
| tablename | varchar(200) | 是 | NULL | 表名 |
| name | varchar(200) | 否 | - | 收藏名称 |
| picture | varchar(200) | 否 | - | 收藏图片 |
| 字段 | 类型 | 空 | 默认值 | 注释 |
|---|---|---|---|---|
| id(主键) | bigint(20) | 否 | - | 主键 |
| username | varchar(200) | 否 | - | 用户名 |
password
varchar(100)
否
密码
role
varchar(100)
是
管理员角色
addtime
timestamp
否
CURRENT_TIMESTAMP
新增时间
表4. 8问答
字段
类型
空
默认
注释
id?(主键)
bigint(20)
否
主键
addtime
timestamp
否
CURRENT_TIMESTAMP
创建时间
biaoti
varchar(200)
否
标题
tupian
varchar(200)
否
图片
wentimiaoshu
longtext
是
NULL
问题描述
faburiqi
date
是
NULL
发布日期
yonghuming
varchar(200)
是
NULL
用户名
表4. 9文章分类
字段
类型
空
默认
注释
id?(主键)
bigint(20)
否
主键
addtime
timestamp
否
CURRENT_TIMESTAMP
创建时间
wenzhangfenlei
varchar(200)
否
文章分类
表4.10 文章信息
字段
类型
空
默认
注释
id?(主键)
bigint(20)
否
主键
addtime
timestamp
否
CURRENT_TIMESTAMP
创建时间
wenzhangbiaoti
varchar(200)
否
文章标题
wenzhangfenlei
varchar(200)
否
文章分类
biaoqian
varchar(200)
是
NULL
标签
tupian
varchar(200)
否
图片
wenzhangneirong
longtext
是
NULL
文章内容
faburiqi
date
是
NULL
发布日期
yonghuming
varchar(200)
是
NULL
用户名
thumbsupnum
int(11)
是
赞数
crazilynum
int(11)
是
踩数
clicktime
datetime
是
NULL
最近点击时间
clicknum
int(11)
是
点击次数
表4.11 用户
字段
类型
空
默认
注释
id?(主键)
bigint(20)
否
主键
addtime
timestamp
否
CURRENT_TIMESTAMP
创建时间
yonghuming
varchar(200)
否
用户名
mima
varchar(200)
否
密码
xingming
varchar(200)
是
NULL
姓名
touxiang
varchar(200)
是
NULL
头像
xingbie
varchar(200)
是
NULL
性别
lianxidianhua
varchar(200)
是
NULL
联系电话
表4. 12资料分类
字段
类型
空
默认
注释
id?(主键)
bigint(20)
否
主键
addtime
timestamp
否
CURRENT_TIMESTAMP
创建时间
ziliaofenlei
varchar(200)
否
资料分类
表4.13 资料下载
字段
类型
空
默认
注释
id?(主键)
bigint(20)
否
主键
addtime
timestamp
否
CURRENT_TIMESTAMP
创建时间
ziliaobiaoti
varchar(200)
否
资料标题
ziliaofenlei
varchar(200)
是
NULL
资料分类
fengmiantu
varchar(200)
是
NULL
封面图
neirongjianjie
longtext
是
NULL
内容简介
ziliao
varchar(200)
是
NULL
资料
faburiqi
date
是
NULL
发布日期
yonghuming
varchar(200)
是
NULL
用户
5系统详细实现
5.1 管理员模块的实现
5.1.1 用户管理
知识管理系统中的管理员可对用户的新增、修改、删除及查询操作。具体界面展示如图5.1所示。

图5.1 用户管理界面
5.1.2 文章分类
管理员登录后可在文章分类中进行新增、修改、删除和查询资料分类的操作。具体界面见图5.2所示。

图5.3 文章分类界面
5.2 资料分类模块的实现
5.2.1 资料分类
管理员登录后可对资料分类信息进行新增、修改、删除和查询操作。界面如下图所示:

图5.4 资料分类界面
5.3 用户模块的实现
5.2.2 文章信息
用户可在首页查看文章信息,也可对文章进行收藏。界面如下图所示:

图5.5 文章信息界面
5.3.1 论坛交流
用户可在论坛交流中发布和查看信息,发布前需先登录才能操作。界面如下图所示:

图5.6 论坛交流界面
5.3.2 资料下载
用户登录后,在后台管理可对资料进行添加、修改、删除操作,并能查看和评论下载信息。界面如下图所示:

图5.7 资料下载界面
6系统测试
6.1 概念与意义
测试定义:程序测试是通过运行程序以发现错误的过程。测试(Testing)的任务和目的可描述为:
目的:发现程序中的错误;
任务:通过在计算机上执行程序,揭示其中的潜在问题。
另一个相关术语叫纠错(Debugging),其目标与任务可以表述为:
目的:定位并修正错误;
任务:消除软件故障,确保程序稳定运行。测试与纠错的关系,可以通过图6-1的数据流图来说明。图中显示,每次测试都需要准备一些必要的测试数据,连同被测程序一起输入计算机执行。通常将一次程序执行所需的测试数据称为一个“测试用例(Test Case)”。每个测试用例生成一个相应的“测试结果”。如果与“预期结果”不一致,则表明程序中有错误,需要通过纠错来修正。

图6.1 测试与纠错信息流程
6.2 特性
- 挑剔性:测试的目的是证明程序存在错误,而非无误。因此,对于被测程序需要“纯毛求疵”,即“鸡蛋里挑骨头”。
- 复杂性:测试程序并非易事,这其实是一个误区。设计测试用例是一项需要细致和高度技巧的工作,稍有不慎就可能顾此失彼,出现不应有的失误。
- 不彻底性:实际的测试都是有限的,无法保证测试后的程序没有遗漏的错误。
- 经济性:通常这种测试称为“选择测试(Selective Testing)”。为了减少测试成本,设计测试用例时应遵循“经济性”的原则。
6.3 重要性
软件测试在软件生命周期中占据关键位置,在传统的瀑布模型中,软件测试仅处于运行维护阶段之前,是软件产品交付用户使用前确保软件质量的重要手段。近年来,软件工程界倾向于一种新的观点,即认为软件生命周期的每个阶段都应包含测试,以验证该阶段成果是否接近预期目标,尽早发现并纠正错误,如果不在早期进行测试,错误的延迟扩散常常会使最终成品的测试变得极其困难。
6.4 测试方法
首先讨论界面测试,其目的是使程序在不同的操作平台上能够正常运行,并保持原有的风格。我将完整的程序拷贝到Windows 7环境中,确保程序可以正常运行,界面上的字体、图片等设置都能保持良好状态,不会出现字体变形等问题。
其次进行功能测试。该系统采用单元测试、集成测试和完美性测试等多种方法进行测试。
经过测试,所有功能均能实现,无任何异常。至此,在功能测试上也已较为圆满地完成。
由于经验不足,编写代码时出现了一些考虑不周的系统缺陷,如代码不规范导致接口间的问题、功能与客户要求不符等,这些问题使得产品无法通过质量检查。因此,产品在上线前必须进行多次测试和修正,以确保产品质量。在整个系统测试中,根据需求文档和设计文档,逐一检测各项功能并编写测试用例,有效避免缺陷的出现。因为产品的缺陷不仅影响功能,还会导致数据不准确,从而降低软件的质量。经过测试,产品的稳定性和成熟度得以显著提高。
6.5 功能测试
功能测试主要包括五项内容:适用性、准确性、可操作性、依从性、安全性。
本系统功能测试如表6.1所示:
| 测试内容 | 测试结果 |
|---|---|
| 适用性 | 好 |
| 准确性 | 好 |
| 可操作性 | 好 |
| 依从性 | 好 |
| 安全性 | 好 |
6.6 可用性测试
可用性测试用于检测系统的可操作性、易理解性和学习难度等方面。具体测试项如表6.2所示。
| 测试项 | 测试人员的评价 |
|---|---|
| 窗口移动、大小改变、关闭等操作是否正常 | 是 |
| 操作模块是否友好 | 是 |
| 模块、提示内容等文字描述是否正确 | 是 |
| 模块布局是否协调、合理 | 是 |
| 模块的状态是否正确(对选中项能否发生对应切换) | 是 |
| 鼠标、键盘操作是否支持 | 是 |
| 所需数据项是否正确显示 | 是 |
| 操作流程是否合理 | 是 |
| 是否提供帮助信息 | 是 |
6.7 性能测试
性能测试主要通过模拟系统运行环境,测试系统的性能是否符合用户需求。性能测试的重要技术指标包括:系统运行速度、网络响应时间和支持并发节点数。
- 系统运行速度:在不同计算机上试运行本系统,未发现任何迟滞或停顿现象。
- 网络响应时间:网络响应时间主要包括最小响应时间、平均响应时间和最大响应时间。经测试,在网络运行良好的情况下,局域网内的三参数为:1/2/6秒;外网的三参数为3/7/12秒,符合用户需求。
- 支持并发节点数:经过模拟环境测试,本系统在并发节点达到46个时,网络运行速度会大幅波动,延迟时间约为10秒,符合用户需求。
6.8 测试分析
本网站设计借鉴了国内外优秀网站的优点,从界面到系统设计都确保用户能够方便操作。系统的主特点和优势总结如下:
- 高适应性和针对性:本系统具有较高的适应性和针对性,能提供更好的服务,并能在多个平台上运行,极大地方便了客户。
- 内容全面且管理方便:该系统内容全面,管理便捷,可以及时处理各种错误和异常,避免了许多因用户操作不当而引起的失误。其界面友好,易于操作,任何会上网的人都能轻松使用。
6.9 测试结果分析
通过对上述测试结果的分析,本系统符合用户需求。所有基本功能均已实现,操作简单且流程合理,产品运行性能良好,是一款值得推广的知识管理系统。
结论:
在这次毕业设计中遇到的最大挑战就是在数据库方面的知识,在项目初期感到非常棘手,完全不知道从哪里开始。然而,通过不断的坚持和努力,最终完成了整个设计。无论多么艰巨的任务,只要能够持续下去,并且善于寻找有效的资料进行研究,在研究过程中充分利用各种资源,任何难题都能够被成功克服。
在开发系统的过程中,本人应用了 Spring Boot 技术和平时积累的一些技术知识,通过实现这些技术,极大地提升了系统的性能。论文中对这些技术进行了较为详尽的介绍。尽管本系统仍有许多不足之处,比如某些细节处理不够完善,部分功能模块需要进一步加强。未来的时间里,我希望能够改进这些缺陷。
通过这次最终的毕业设计,不仅将平时学到的知识进行了整合,还获得了许多计算机领域的知识。在整个设计过程中学到了很多东西,也培养了独立工作的能力,树立了信心。我相信这将对今后的学习和工作产生重要影响。同时,大大提升了实践能力,让我深刻体验到探索的乐趣以及成功创造的喜悦。毕业设计中获得的知识是一笔宝贵的财富。
回顾整个毕业设计的过程,充满了努力与收获。当看到成果时的那种喜悦是难以言表的。这些在毕业设计过程中学到的东西将使我终身受益!
最后,感谢指导老师的关心和指导,在我的毕业设计期间,他给予了我大量的帮助和支持,在导师的帮助下,我的毕业设计能够顺利完成。
致谢语
经过几个月的努力学习,我的毕业设计终于按期完成。这次毕业设计是对我们平时所学计算机理论知识的一次全面评估,也是将理论应用于实践的检验。
首先我要感谢本次指导我的老师,他的及时纠正使我在设计过程中出现的问题得以解决,确保了我的设计能够高质量地完成。在
知识管理系统
开发中,导师在程序、框架设计及代码等方面以及论文撰写上提供了许多宝贵的建议,并推荐了许多相关资料。他的指导使我获益良多,在此表达衷心的感谢。
我也要感谢帮助我的同学们,他们与我一起探讨论文中的不足之处,为我的设计提出了宝贵的意见。他们的支持使我的设计更加完善和具体。
最后,我要感谢学校为我们提供了一个良好的学习环境。祝愿学校的领导、教师以及和我并肩作战的同学工作顺利,事业有成,也祝学校的未来更加辉煌。
参考文献
- 付昕. 基于B/S模式仓库管理系统的实现[J].山东省农业管理干部学院学报, 2010, 27(4):166-168
- 雷文华, 薛小文. MATLAB和Servlet在网络数据处理中的应用[J]. 电子测试, 2010, (11):81-86.
- 黄艳峰. 在Java语言中实施“案例教学”的研究与探索[J]. 电脑知识与技术, 2010, 6(5):1148-1149
- 王玉英. 基于JSP的MySQL数据库访问技术[J]. 现代计算机:专业版, 2010, 19(14):63-66
- 赵钢. JSP Servlet+EJB的Web模式应用研究[J]. 电子设计工程, 2013, 21(13):47-49
- David L.Anderson.Managing ?Information Systems.清华大学出版社,2002:16
- 王家华.软件工程[M],沈阳:东北大学出版社,2011:46
- 张孝祥,徐明华.软件开发课堂.清华大学出版社,2009:55
- 崔洋.MySQL数据库应用从入门到精通.中国铁道出版社,2013:27
- 王珊,萨师煊.数据库系统概论.高等教育出版社, 2006:16
- 崔洋.MySQL数据库应用从入门到精通.中国铁道出版社,2013:27
- 王珊,萨师煊.数据库系统概论.高等教育出版社, 2006:16
- 张海潘.软件工程导论.清华大学出版社,2008:86
- 黄艳峰. 在Java语言中实施“案例教学”的研究与探索[J]. 电脑知识与技术, 2010, 6(5):1148-1149
- 王玉英. 基于JSP的MySQL数据库访问技术[J]. 现代计算机:专业版, 2010, 19(14):63-66
免费领取源码,一键三连。


雷达卡


京公网安备 11010802022788号







