◎作者 | 牲产队长
◎来源 | 牲产队(ID gh_f74b81dd128a)已获授权
新能源车企薪酬正在出现严重的倒挂现象:亏得越多,董事长薪酬越高。
这是一种完全颠覆公众认知的现象。这不禁令人质疑,那些严重亏损的新能源车企,到底有没有在认真造车?
当前,零跑汽车成功过审,将于9月29日正式登陆港股,成为中国第四家上市的新势力造车公司。中国新能源车企也就此拉开了集中上市的第二波浪潮。
第一波是以蔚小理为代表的中国新能源车企,成功赴美上市。而在这第二波浪潮中,几乎是新能源车企的生死之战。
对造车新势力而言,还远没有到规模盈利的阶段,烧钱仍然是当前不可避免的硬伤。

能否成功上市,几乎就决定了未来十年内,中国新能源车企的基本格局,也决定了谁能活下来,不被淘汰。零跑抢先闯关成功,哪吒、高合、埃安以及威马等新势力,也在集中一切力量,闯关上市。
但威马汽车向港交所递交的招股书迅速引起了巨大的争议。根据招股书披露,2021年,威马汽车亏损82亿,但董事长沈晖却拿走天价年薪12亿。
也就是说,沈晖不拿年薪的话,威马汽车起码能少亏12个小目标。

一边是巨额亏损,一边是天价年薪,威马汽车这是在认真造车吗?
威马汽车方面的解释是,这笔价值12亿的年薪支出,是向若干管理层成员授予股份奖励导致的以股份为基础的付款开支以及向C+系列境内投资者支付的以股份为基础的付款。
简单地说就是,提前进行股权变现。一般来说,一个创业公司的股权在未上市前,是无法在二级市场上变现的,但可以在一级市场变现。为了方便大家理解,队长给大家举个例子。
比如你拿着一份PPT到处演讲,拉投资,在A轮中拉到了10亿投资。
拿着这10亿投资,你创立了一家名为“肥马”的新能源汽车公司,投资人拿走20%股权,你还留有80%股权。
这时候,公司总资产为10亿,你持有80%股权,虽然还没卖出一辆车,但你已经赚到了8亿。
8个亿你觉得还不够,为了赚更多的钱。你把这8亿招来一批技术员,购买零部件,建汽车生产线,成功地组装出了第一款“肥马1”电动汽车。
这时候,你又启动了B轮融资,成功融到30亿,你的股权稀释到60%,这时的公司实际总资产是40亿,你持有60%股权,价值24亿,相比原来的8亿翻了3倍。
为了赚更多钱,你把“肥马1”电动汽车推上市,继续进行C轮融资,成功融资80亿,再进行D轮融资,融到100亿。
最后,你还剩30%股权,但是公司实际总资产已经达到220亿。你手里的30%股权,价值66亿。
D轮投资者对你最大的要求就是,“肥马”必须成功上市。
因为只有“肥马”成功上市,D轮投资者才能在最短时间内,收回成本,并让股民接盘,大赚一笔。这也是D轮投资者愿意投资你的根本原因。
你在D轮融资的时候,大吹特吹,但其实你心里没底。公司经营的很差,亏损很严重,前景不明,甚至有破产倒闭的风险。
一旦破产,你手里的股权就会一文不值。这时,为了保证你的利益,你决定先不投入生产了,也不搞新车研发了,你要先分钱。
那么,你如何能说服董事会愿意分钱呢?
很简单,联合一部分持股较高的早期投资者,让赞同分钱的投资者形成多数派。怎么分呢?按股份支付。你没出钱,但你作为创始人兼董事长,你股权最大,分的也最多。即便你的“肥马”汽车公司最后上市失败,但你们也落袋为安了,这辈子的钱都赚够了。
在这个过程中,D轮投资者成了接盘侠,你的“肥马”公司也变成了“瘦马”,真正“肥”的是你本人和公司一批高管层。
但D轮投资者还有机会把钱赚回来,那就是让“肥马”上市成功。他们为了把钱收回,会比你更着急,也比你更上心,会全力帮助你,把“肥马”公司推上市,让股民和基民成为终极接盘侠。
威马创始人沈晖在2021年给自己发12亿天价年薪,董事会成员总薪酬超过17亿元,便是这个逻辑。在2021年之前,沈晖的年薪并不高。
2019年,他在威马汽车领取的年薪为145.6万元,2020年为161.8万元,而中国汽车行业董事长平均薪酬为116.3万元,基本符合市场价。

可是,从2021年起,威马汽车的高管薪酬就开始失控。一边是巨亏82亿,另一边是高管薪酬支出超过17亿。这背后所隐藏的是两大核心要素:一是,高管层对威马汽车的前景担忧,纷纷选择落袋为安。
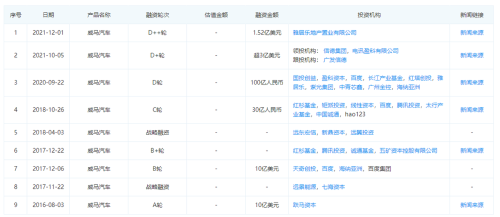
二是,威马汽车在2020年9月初拿到了D轮100亿的巨额融资,创造了中国汽车有史以来最大单笔融资额。有了这笔钱,才有了给自己发超高年薪的底气。

在这100亿融资中,领投方为上海国有投资平台和上汽集团,跟投方则有百度、海纳亚洲创投基金、衡阳国有投资平台、湖北长江产业基金、安徽合肥产业基金、国投创益产业基金以及广州金融控股集团等,
可以看到,国有资本是威马汽车D融融资中的主力军,汇集了上海、湖南、湖北、安徽、广州等多地国资平台。
而在威马汽车的早期投资者名单中还有李嘉诚家族旗下的盈科电讯、何鸿燊家族旗下的信德集团、云南红塔集团、紫光集团、五矿集团、腾讯集团、红杉中国以及雅居乐集团,累计完成融资350亿。

威马汽车的车卖得不如蔚小理,但高管薪酬却远超蔚小理,股东阵容亦是极为豪华,遍布内地、香港和澳门三地,实力不可不谓之强大。
其中,衡阳国资委还并购了破产的猎豹汽车,打包注入到威马汽车,以期待威马汽车能帮助衡阳市打造一个新能源汽车产业基地。
但威马汽车值得如此多的国有投资平台押注吗?沈晖等威马高管层给自己发的天价年薪,这里面有多少钱来自于国有资产?
当国有资本和私有资本一起倒入同一桶水里时,国资还能掌握这桶水的分配权吗?


雷达卡





京公网安备 11010802022788号







