计算机毕业设计基于微信小程序的综合旅游管理系统的设计与实现ub9429(配套有源码 程序 mysql数据库 论文)
本套源码可以在文本联系,先看具体系统功能演示视频领取,可分享源码参考。
节假日“人从众”成常态,游客一边查看攻略、一边对比价格、一边抢购门票,信息分散跳转,体验支离破碎;文旅局、景区、商家各自为战,数据孤岛导致资源浪费。微信小程序“扫码即达、社交裂变”的特性,把景点、路线、组团、攻略、资讯装进同一口袋,3 分钟完成选景、下单、入群、写笔记,实现“一机在手、全程无忧”的旅程闭环。
系统采用 SpringBoot + MySQL 架构,B/S 模式确保跨端一致,业务侧抽象出管理员与用户两类角色,共拆解以下功能模块:
个人中心:头像、昵称、手机号、实名认证、收藏夹、我的留言
用户管理:注册/登录、微信一键授权、密码找回、黑名单
风俗文化管理:标题、封面图、简述、文化特色、文化建设、详情、发布日期、发布人
景点分类管理:多级分类、图标、权重值、SEO 关键词
景点信息管理:名称、分类、图片、评级、详情、门票价格、购票须知、营业时间、热线电话、地址、点赞/踩、点击统计
景点路线管理:路线编号、名称、起点位置、终点位置、途经路段、出行方式、价格、发团时间、发团地点、注意事项、详情、点击量
组团信息管理:关联景点、地址、路线图片、组团人数、价格、发团时间、发团地点、组团详情、审核状态、联系人、联系电话
旅行笔记管理:标题、图片、内容、记录日期、作者
资讯分类管理:分类名称、排序值
资讯信息管理:标题、封面图、分类、来源、内容、发布时间、点赞/踩、评论回复
在线留言:提问、回复、是否已回复状态
公告信息:标题、简介、封面图、内容、发布时间
系统管理:轮播图、关于我们、系统简介、参数配置、操作日志
收藏与点赞:景点、资讯、笔记的收藏/取消收藏、点赞/踩
搜索与筛选:关键词、分类、价格范围、发团日期、智能排序
分享裂变:小程序码、海报、微信群一键转发
一句话归纳:把“景点、路线、门票、攻略、社群”装进微信小程序,用 16 组功能完成从种草、下单、出行、分享到复购的全链路闭环,让旅行像网购一样简单。
注:以上是纯课题毕业设计功能介绍,并非实际开发完成,最终开发完成的毕业设计程序以下面的环境软件、功能图和界面为准。
系统所需要的环境软件:idea、eclipse+mysql5.7、8.0+Navicat+JDK1.8+tomcat7.0
3.2.1
系统开发流程
综合旅游管理系统的设计和开发,首先要对用户的实际需求和具体情况进行详细的分析,明确系统要实现的全部功能,然后再针对整个系统的操作流程和功能进行设计,力求每个模块都能满足用户的要求,最后通过测试解决存在的问题,确保系统的稳定运行。本系统的开发流程如图3-1所示。

图3-1系统开发流程图
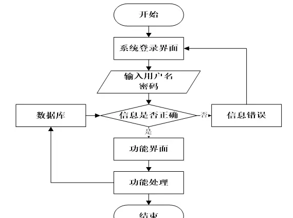
3.2.2 用户登录流程
登录流程实现了管理员和其他用户的登录,在登录页面需用户填写个人信息,前端页面将信息传递给后端接口,然后查询数据库验证该身份有效后成功登录,否则此用户登录失败,需要重新填写信息并再次验证,如图3-2所示。

图3-2登录流程图
3.2.3 系统操作流程
系统操作流程分析是软件开发过程中的一个关键环节,它是整个系统运行的整体框架,必须确保每个步骤都是明确的。这样规范的操作流程图有助于开发者快速理解并投入接口开发,提高系统的开发效率。
同时,流程图还能减少开发者对系统操作流程的理解偏差和降低沟通成本。系统操作流程如图3-3所示。

图3-3系统操作流程图
3.2.4
添加信息流程
系统的正常运行依赖于数据的支撑,因此在本系统中加入了数据插入功能。数据库中的数据缺失会直接影响查询结果,错误的查询结果又会导致逻辑处理出现偏差,最终可能导致系统性错误或故障。所以在进行数据添加操作时,必须对数据进行合法性校验,确认该条数据有唯一的主关键字和字段是否允许为空等。如果数据库表中某字段不允许为空而程序没有进行非空验证,则会出现数据存储失败,可能造成严重的系统后果。添加信息流程如图3-4所示。

图3-4添加信息流程图
3.2.5 修改信息流程
由于系统的使用者是人,难免会有疏忽,可能会导致输入的信息有误,或因其他原因需要对数据进行修改。因此,在程序运行中,数据的更新操作是一个必不可少的重要环节。
在进行数据更新时,必须有一个唯一的主关键字以供数据库查询;此外,还应遵循数据插入过程中的规范,确保数据的准确性。修改信息流程图如图3-5所示。

图3-5修改信息流程图
3.2.6 删除信息流程
删除操作在系统中并非必须,可根据用户及系统的需要决定是否添加此功能。删除操作就是利用delete语句将数据库中的某一匹配数据移除。因为这一过程可能导致用户数据丢失,所以为了防止使用者误按删除键,在用户点击删除按钮时应添加一个确认提示弹窗。当用户确定要执行删除时,再进行数据库操作,并且在完成后需向用户提供反馈。删除信息流程图如图3-6所示。

图3-6 删除信息流程图
3.3 系统用例分析
3.3.1 管理员用例图
综合旅游管理系统的最高权限用户是管理员,通过系统首页、个人中心、用户管理、风俗文化管理、景点分类管理、景点信息管理、景点路线管理、组团信息管理、旅行笔记管理、资讯分类管理、资讯信息管理和系统管理等选项来对后台信息进行处理。管理员用例如图3-7所示。

图3-7 管理员用例图
3.3.2 用户用例图
用户进入系统可以对组团信息、旅行笔记、我的收藏管理和在线留言等功能进行操作。用户用例如图3-8所示。

图3-8 用户用例图
4 系统设计
4.1 系统概述
综合旅游管理系统的设计与开发旨在对该系统的各个功能模块进行详细规划,力求每个部分都能满足用户需求。系统开发完成后还需进行单元测试和整体测试,发现并解决问题,确保系统稳定运行。综合旅游管理系统工作原理图如图4-1所示:

图4-1 系统工作原理图
4.2 系统结构设计
系统结构设计必须满足业务需求,完成设计后要形成文档,开发人员依据模块接口说明进行接口开发。接口完成后需进行功能测试,以发现并解决系统漏洞,同时确保系统的可扩展性和稳定性,满足用户对系统的要求。系统设计需考虑以下几点:
- 安全性
- 易用性
- 灵活性
- 扩展性
综合旅游管理系统的整体结构主要分为两部分:管理员和用户。管理员负责管理用户信息、设置权限及发布资讯等基础功能的管理;整体结构设计如图4-2所示。

图4-2 整体结构设计图
4.3 数据库设计
本系统依赖MySQL数据库来存储信息。系统完成后,所有需要的数据都要从数据库中读取,这意味着无论是插入、更新还是删除操作,任何对数据的更改都需要与数据库交互。因此,所有的数据都必须储存在数据库,并确保在未经授权的情况下不会进行删除表结构等危险操作,同时保证字段的准确性。
4.3.1 数据库设计原则
- 从上至下
- 自下而上
- 逐步扩展
- 综合方法
4.3.2 数据库实体
E-R图,即实体-联系图,通过实例抽象化来可视化描述现实世界的概念模型。根据需求分析绘制出数据库的E-R图,可以直观地展现各个表之间的关系。
本系统的实体属性图如下所示:
- 关于我们实体图如图4-3所示:

图4-3 关于我们实体图
- 公告信息实体图如图4-4所示:

图4-4 公告信息实体图
- 旅行笔记实体图如图4-5所示:

图4-5 旅行笔记实体图
- 在线留言实体图如图4-6所示:

图4-6 在线留言实体图
- 用户实体图如图4-7所示:

图4-7 用户实体图
5.1.1 登录界面的实现
首先双击打开小程序客户端,连接网络后会显示出本系统的登录页面。这是进入小程序的第一个页面“登录”,能成功进入该登录页面则表示小程序启动成功,接下来可以操作系统提供的其他所有功能。登录界面如图5-1所示。

图5-1 登录界面
5.1.2 小程序首页功能的实现
小程序首页是用户注册登录后进入的第一个页面。在这里,可以查看导航条,内容包括首页、风俗文化、景点信息、地图和我的等部分。小程序首页界面如图5-2所示。

图5-2 小程序首页界面
在景点信息页面输入景点名称进行搜索,可以查看到详细信息,并根据需要进行评论或收藏操作;景点信息页面如图5-3所示。

图5-3 景点信息界面
5.1.3 用户功能
用户登录成功后,点击“我的”进入个人页面,在这里可以对组团信息、旅行笔记、我的收藏管理和在线留言等功能进行详细操作。用户功能界面如图5-4所示。

图5-4 用户功能界面
5.2 后台管理员功能的实现
后台登录,管理员在登录页面正确填写用户名和密码等信息进行登录操作。如图5-5所示。

图5-5 管理员登录界面
管理员登录进入小程序后可以查看系统首页、个人中心、用户管理、风俗文化管理、景点分类管理、景点信息管理、景点路线管理、组团信息管理、旅行笔记管理、资讯分类管理、资讯信息管理和系统管理等,并进行详细操作。如图5-6所示。

图5-6 管理员功能界面
用户管理;在用户页面输入用户账号进行检索,新增或移除用户信息列表,并依据需求对用户详细资料进行查看详情、修改或删除操作;如图5-7所示。
图5-7 用户管理界面图
景点分类管理;在景点分类页面输入景点类别进行检索,新增或移除景点分类列表,并依据需求对景点分类详细资料进行查看详情、修改或删除操作;如图5-8所示。
图5-8 景点分类管理界面图
组团信息管理;在组团信息页面输入景点名称、地址和选择是否通过进行检索或移除组团信息列表,并依据需求对组团详细资料进行修改或删除操作;如图5-9所示。
图5-9 组团信息管理界面图
资讯分类管理;在资讯分类页面输入资讯类别进行检索,新增或移除资讯分类列表,并依据需求对资讯分类详细资料进行查看详情、修改或删除操作;如图5-10所示。
图5-10 资讯分类管理界面图
资讯信息管理;在资讯信息页面输入标题、资讯类别、来源和选择发布时间进行检索、新增或移除资讯信息列表,并依据需求对资讯详细资料进行查看详情、修改、查看评论或删除操作;如图5-11所示。
图5-11 资讯信息管理界面图
系统管理;在公告信息页面输入标题进行检索,新增或移除公告信息列表,并依据需求对公告详细资料进行查看详情、修改或删除操作;还可以对轮播图管理、在线留言、关于我们和系统简介进行详细操作;如图5-12所示。
图5-12 系统管理界面图
源码无偿分享,文未领取


雷达卡


京公网安备 11010802022788号







