正文
申慧慧老师的环境不确定性相关数据(2000 - 2024年),包含do代码原始及结果数据、do处理代码。
参考文献
- 股权性质、环境不确定性与会计信息的治理效应_申慧慧
- 环境不确定性对盈余管理的影响_申慧慧
- 环境不确定性与审计意见_基于股权结构的考察_申慧慧
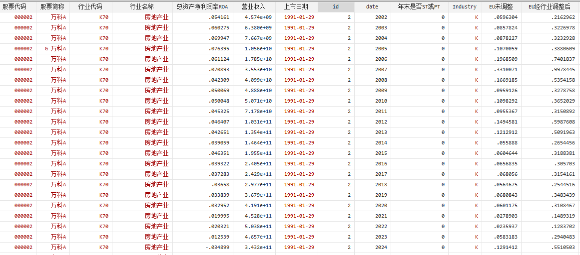
环境不确定性衡量方法借鉴申慧慧等(2012)、王文华等(2021)、花冯涛(2021)等顶刊的做法,用企业过去5年剔除正常增长部分销售收入的标准差除以这5年销售收入的均值,得到未经行业调整的环境不确定性;再以未经行业调整的环境不确定性除以行业环境不确定性,用来表示企业环境不确定性。
EU为衡量环境不确定性的指标。环境不确定性的根源在于外部环境,外部环境的变化会引起企业核心业务活动的波动,最终导致企业销售收入的波动,所以环境不确定性可用公司业绩波动来衡量。销售收入的标准差通常被视为衡量环境不确定的指标,为剔除行业影响,运用过去5年销售收入的标准差并经行业调整后的值来衡量公司的环境不确定性。不过,过去5年销售收入的变化,有一部分是公司稳定成长带来的。
附件版本附件包含2个版本:未剔除版本和剔除ST版本。
数据处理结果展示

数据文件
环境不确定性2024yh.rar (19.17 MB)
申慧慧:环境不确定性数据(2000-2024)及do代码原始结果
(76 Bytes, 需要: RMB 28 元)


雷达卡




京公网安备 11010802022788号







