行业主要上市公司:中航西飞(000768)、中直股份(600038)、航发科技(600391)、洪都航空(600316)、海特高新(002023)等
本文核心数据:中国航空零部件行业融资事件数量;中国航空零部件行业融资金额;中国航空零部件行业主要融资事件等
1、航空零部件行业热度有所下降
根据烯牛数据库,近年来我国航空零部件行业融资事件数量呈波动态势,其中,2016年达到了26起,为近年来顶峰;其次为2018年,融资事件数量为24起。2019年以后,航空零部件行业融资事件数量保持在15起左右,行业热度稍有下降。

注:上述统计时间截止2022年11月30日,下同。
2、航空零部件行业投融资已经进入后期阶段
从单笔融资金额来看,2014-2022年我国航空零部件行业历年单笔最高融资金额波动较大,其中2017年达到顶峰,为96.04亿元。

从航空零部件的投资轮次分析,目前行业内融资事件主要分布在C轮以前和定向增发,这说明行业内龙头企业多已经完成了上市,尽管也有部分企业还处于发展初期,但总体来看行业投融资已经进入后期阶段。

3、航空零部件行业投融资集中在北京、陕西和江苏
从航空零部件行业的企业融资区域来看,目前北京的融资事件最多,2014-2022年累计达到28起,其中2021年累计达到5起,占全国航空零部件行业融资事件数量的三分之一。除北京外,陕西的融资事件数量也较多,累计超过20起。

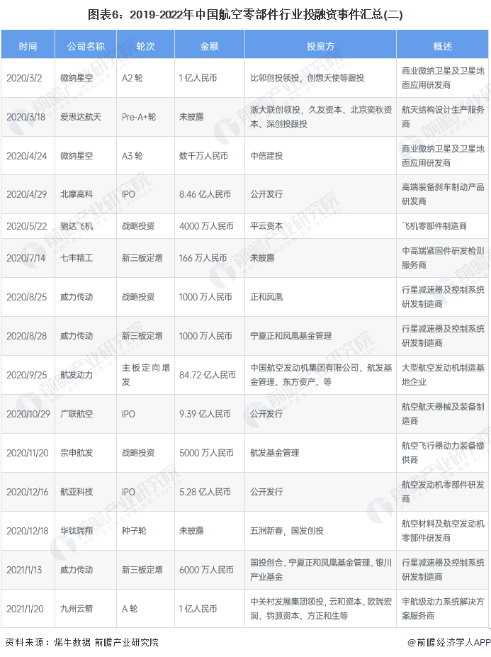
4、航空零部件行业投融资事件汇总
2019年-2022年年我国航空零部件行业的主要投融资事件如下:




5、航空零部件行业的投资者以投资类企业为主
根据对航空零部件行业投资主体的总结,目前我国航空零部件行业的投资主体主要以投资类为主,代表性投资主体有深创投、中信建投、峰瑞资本等;实业类的投资主体有中国航发、中船重工、华讯方舟等。

6、四川省航空工业园区数量最多
根据前瞻产业园区库,截至2022年11月,我国共有航空工业园区193个,其中四川省和陕西省数量最多,分别为28个和27个。

7、航空零部件企业横向收购扩大规模
2021年以来,航空零部件行业兼并重组事件如下,从兼并重组类型来看主要为中游企业横向扩大规模进行的并购。

8、航空零部件行业投融资及兼并重组总结



雷达卡





京公网安备 11010802022788号







