包括原始数据Excel+数据库说明书
原始数据来源于国家知识产权专利局
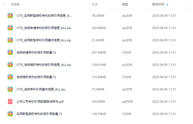
具体指标见下图:
1发明专利引用情况
①发明专利引用基本信息 1991-2023
②发明申请专利的被引用信息1992-2023
③发明申请专利的被引用数量 1992-2024
④发明授权专利的被引用信息 1991-2023
⑤发明授权专利的被引用数量 1991-2024
2实用新型专利引用情况
①实用新型专利引用基本信息 1992-2023
②实用新型授权专利的被引用信息 1992-2023
③实用新型授权专利的被引用数量 1992-2024
股票代码[股票代码]-上市公司股票代码
被引用专利号[被引用专利号]-被引用专利号
被引用专利分类号[被引用专利分类号]-被引用专利分类号
被引用专利申请日[被引用专利申请日]-被引用专利的申请日
专利所有权人[专利所有权人]-专利申请人所有权人
专利引用数量[专利引用数量]-为发明该项专利所引用的专利数量,单位:个
非专利引用数量[非专利引用数量]-为发明该项专利所引用的非专利数量,单位:个
被引用次数[被引用次数]-截至2024年6月该专利的被引用次数,单位:次
上市公司专利引用情况1991-2024实用新型发明申请专利授权专利的被引用数量明细信息网盘链接.docx
(53.89 KB, 需要: RMB 99 元)
(1GB数据的网盘链接)


雷达卡



京公网安备 11010802022788号







