图3-1 管理员用例图
上述功能共同构成了完整的新能源汽车租赁管理体系,在提高运营效率的同时,强化了用户参与感,助力新能源汽车租赁服务向数字化、智能化方向转型。
图3-2 用户用例图
### 3.1 可行性分析
本系统的可行性研究立足于当前互联网技术发展背景,从经济、市场、技术、法律及用户使用五个维度展开评估,验证其开发的合理性与可实施性。
#### 3.1.1 经济可行性分析
本系统所采用的技术框架均为开源资源,开发工具如IDEA、Eclipse、MySQL、Navicat等均无需支付授权费用,开发成本极低。硬件投入相对有限,而系统投入使用后所带来的管理效率提升和社会效益远超初期投入,因此具备良好的经济可行性。
#### 3.1.2 市场可行性分析
尽管原文提及“图书馆”存在表述偏差,但就新能源汽车租赁这一应用场景而言,其面向的是广泛的个人用户与共享出行市场。随着环保意识增强和政策扶持力度加大,新能源汽车租赁市场需求持续增长,系统具有明确的应用场景和推广空间,市场前景广阔。
#### 3.1.3 技术可行性分析
系统以Java语言为基础,依托Eclipse或IDEA作为开发环境,结合JDK 1.8、Tomcat 7.0服务器运行环境,技术路线成熟稳定。前端页面通过Java模板技术实现HTML复用,提升开发效率;数据库选用MySQL 5.7或8.0版本,配合ORM机制简化数据操作,实现多表关联与规范化存储。整体技术架构清晰,开发难度可控。
#### 3.1.4 用户使用可行性分析
目标用户群体具备一定信息技术素养,系统界面设计简洁直观,操作流程清晰明了,无需复杂培训即可上手使用,满足普通用户日常操作需求。
#### 3.1.5 法律可行性分析
系统开发内容符合国家相关法律法规要求,所有功能设计均在合法合规范围内进行,已完成必要的备案程序,不存在法律风险。
### 3.2 需求分析
需求分析是软件工程中的关键环节,又称软件需求定义或系统需求工程。它是指开发团队通过对用户意图的深入理解,将模糊的、非正式的需求转化为精确、可执行的系统功能规格说明的过程。该过程涵盖了功能需求、性能要求、可靠性、安全性等多个方面,是系统设计与实现的基础依据。
### 3.3 系统功能分析
功能需求分析是系统架构设计的前提条件,需明确系统应具备的功能集合及其运作逻辑。本文所述新能源汽车租赁管理系统基于Windows平台开发,旨在为用户提供更安全、高效、便捷的服务体验。
系统设定两个主要角色:**管理员** 和 **用户**,各自承担不同的操作职责。
- **管理员功能模块**:包括系统首页展示、个人中心设置、用户信息管理、车辆类型配置、车辆信息维护、租车与还车记录管理、系统公告发布及系统参数设置等功能。其操作范围覆盖整个系统的后台管理流程。
- **用户功能模块**:用户可访问系统首页、管理个人中心、浏览并发起租车申请、完成还车登记、查看收藏车辆以及发表评论等内容,实现全流程自助式租赁服务。
综上所述,该系统通过合理的功能划分和技术选型,实现了新能源汽车租赁业务的信息化管理,具备较高的实用价值和发展潜力。
**系统运行所需环境配置如下**:
开发工具:IntelliJ IDEA 或 Eclipse
数据库:MySQL 5.7 / 8.0
数据库管理工具:Navicat
Java开发环境:JDK 1.8
服务器环境:Tomcat 7.04 软件功能模块设计
新能源汽车租赁管理系统采用结构化开发方式,该方法具备较强的可控性。在开发过程中,遵循自顶向下、从整体到局部的设计原则,结合模块化思想对系统结构进行合理划分 [11]。通过模块化开发,各功能模块相互独立,互不干扰,便于系统的开发、维护与管理。
系统总体功能结构如图 4-1 所示:
图 4-1 新能源汽车租赁管理系统总体功能模块图
3.4 系统流程设计
3.4.1 系统开发流程
在设计和开发新能源汽车租赁管理系统时,首先需深入分析用户的实际需求及使用场景,明确系统应实现的各项功能。随后,围绕系统的工作流程与功能模块展开详细设计,确保每个模块均能满足用户预期。最后通过全面测试,及时发现并修复问题,保障系统运行的稳定性与可靠性。本系统的开发流程如图 3-3 所示。
图 3-3 系统开发流程图
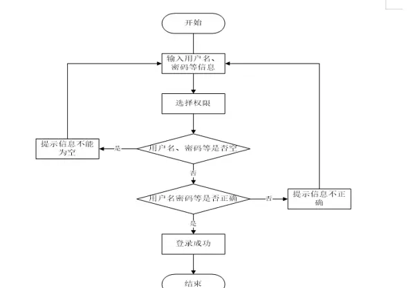
3.4.2 用户登录流程
系统支持管理员及其他用户类型的登录操作。用户在登录页面输入账号和密码后,前端将数据提交至后端接口。系统通过查询数据库验证身份信息的有效性:若验证成功,则允许登录;否则提示失败,用户需重新填写信息并再次提交验证。具体流程如图 3-4 所示。
图 3-4 登录流程图
3.4.3 系统操作流程
系统操作流程分析是软件开发中的关键步骤,它反映了整个系统的运行逻辑。一个清晰、规范的操作流程图有助于开发者准确理解系统行为,快速投入接口开发工作,从而提升开发效率。同时,流程图也有助于减少团队沟通中的歧义,降低协作成本。系统操作流程详见图 3-5。
图 3-5 系统操作流程图
4.1 数据库设计与实现
数据库在整个系统中起着核心作用,良好的数据库设计不仅能提升系统性能,还能有效支撑各项逻辑功能的实现。因此,数据库的设计必须基于系统的实际需求,以确保其能够完美匹配系统功能。
4.1.1 概念模型设计
概念模型用于描述现实世界中存在的实体及其相互关系。E-R 图(实体-关系图)由实体及其关联构成,能直观展现系统中各实体之间的联系。
用户信息实体图如图 4-2 所示:
图 4-2 用户信息实体图
还车信息实体图如图 4-3 所示:
图 4-3 还车信息实体图
车辆信息实体图如图 4-4 所示:
图 4-4 车辆信息实体图
租车信息实体图如图 4-5 所示:
图 4-5 租车信息实体图
5.1 管理员功能模块实现
管理员通过登录页面输入账号和密码,并点击登录按钮完成身份验证,登录界面如图 5-1 所示。
图 5-1 管理员登录界面图
成功登录后,管理员可访问系统首页、个人中心以及多个管理功能模块,包括用户管理、车辆类型管理、车辆信息管理、租车信息管理、还车信息管理及系统管理等,功能界面如图 5-2 所示。
图 5-2 管理员功能界面图
在用户管理页面,管理员可对用户名、姓名、头像、性别、手机号、身份证等信息执行查询、新增或删除操作,如图 5-3 所示。
图 5-3 用户管理界面图
进入车辆类型管理页面后,管理员可对车辆类型相关信息进行查询、添加或删除操作,如图 5-4 所示。
图 5-4 车辆类型管理界面图
在车辆信息管理页面,管理员可查看并操作租车编号、车辆名称、图片、品牌、型号、类型、颜色、车牌号、日租价格、更新时间、状态、点击次数等字段,支持查询与删除功能,如图 5-5 所示。
图 5-5 车辆信息管理界面图
租车信息管理页面提供对租车编号、车辆名称、品牌、型号、类型、车牌号、日租价格、租用天数、总价、用户名、姓名、手机、身份证、租赁时间、支付状态、审核回复、审核状态等信息的查询与删除功能,如图 5-6 所示。
图 5-6 租车信息管理界面图
还车信息管理页面允许管理员查看并处理租车编号、车辆名称、品牌、型号、类型、租赁时间、用户名、姓名、手机、身份证、还车时间等信息,支持查询与删除操作,如图 5-7 所示。
图 5-7 还车信息管理界面图
5.2 用户功能模块实现
普通用户通过登录页面输入账号和密码,点击登录按钮完成登录操作,登录界面如图 5-8 所示。
图 5-8 用户登录界面图
登录成功后,用户进入主页面,可操作的功能主要包括系统首页、个人中心、租车信息管理、还车信息管理以及我的收藏管理等。用户主界面如图 5-9 所示。
图 5-9 用户主界面
在租车信息管理页面,用户可以查看租车编号、车辆名称、品牌、型号、类型、车牌号、日租价格、租用天数、总价、用户名、姓名、手机、身份证、租赁时间、支付状态、审核回复、审核状态等信息,并进行查询或删除操作。
如图5-10所示,展示了租车信息管理的界面布局。
当游客访问系统网址时,首先进入的是系统的首页。在该页面中,用户可以看到新能源汽车租赁管理系统的主导航栏,包含首页、车辆信息、公告信息、后台管理以及个人中心等多个功能入口。系统首页的具体展示效果如图5-11所示。
在使用前台系统的各项功能之前,用户需先完成注册与登录操作。注册和登录界面的设计分别如图5-12所示,用户可通过这两个界面完成账户的创建和身份验证。
用户点击“车辆信息”选项后,将进入车辆信息展示页面。在此页面的搜索栏中输入车辆名称,即可查询相关车辆数据。结果显示包括租车编号、车辆名称、车辆图片、品牌、型号、类型、颜色、车牌号、日租金、更新时间、当前状态及浏览次数等详细内容。同时,用户还可对目标车辆执行租赁、收藏或发表评论等交互操作。具体界面如图5-13所示。
若选择“公告信息”模块,用户可浏览平台发布的各类通知。页面中会列出公告的标题、简介、发布日期及完整内容,便于用户了解最新动态并进行查看详情等操作。其界面呈现方式如图5-14所示。



雷达卡


京公网安备 11010802022788号







