关于本站
人大经济论坛-经管之家:分享大学、考研、论文、会计、留学、数据、经济学、金融学、管理学、统计学、博弈论、统计年鉴、行业分析包括等相关资源。
经管之家是国内活跃的在线教育咨询平台!
获取电子版《CDA一级教材》
完整电子版已上线CDA网校,累计已有10万+在读~ 教材严格按考试大纲编写,适合CDA考生备考,也适合业务及数据分析岗位的从业者提升自我。
论文
- 毕业论文 | 写毕业论文
- 毕业论文 | 为毕业论文找思路
- 毕业论文 | 可以有时间好好写 ...
- 毕业论文 | 毕业论文如何选较 ...
- 毕业论文 | 毕业论文选题通过 ...
- 毕业论文 | 还有三人的毕业论 ...
- 毕业论文 | 毕业论文答辩过程 ...
- 毕业论文 | 本科毕业论文,wi ...
考研考博
- 考博 | 南大考博经济类资 ...
- 考博 | 考博英语10000词汇 ...
- 考博 | 如果复旦、南大这 ...
- 考博 | 有谁知道春招秋季 ...
- 考博 | 工作与考博?到底 ...
- 考博 | 考博应该如何选择 ...
- 考博 | 考博失败了
- 考博 | 考博考研英语作文 ...
TOP热门关键词
扫码加入数据分析学习群![]() |
大数据解密涉及多个方面,包括数据加密、解密技术的应用以及大数据分析的潜力。在大数据时代,数据安全和隐私保护变得尤为重要,而数据解密则是确保数据安全的重要手段之一。
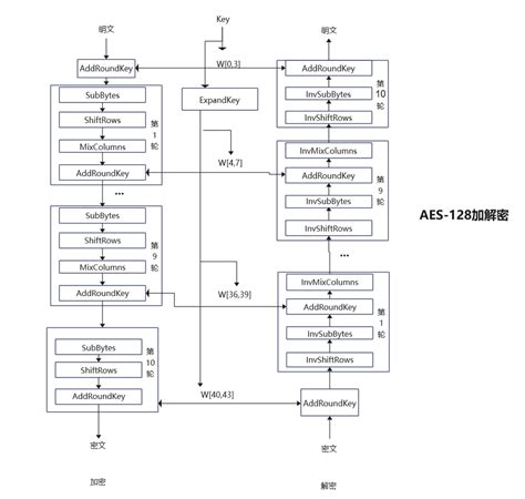
从技术角度来看,数据解密是将加密数据转换回其原始、可理解形式的过程。这一过程通常依赖于特定的算法和密钥。例如,AES(高级加密标准)是一种常用的对称密钥加密算法,可以用于加密和解密数据。在实际应用中,AES解密技术被广泛用于处理涉及公民隐私的案件,以恢复数据的原始状态并确保数据的安全与完整性。

python实现AES#实现加密字符串和加密文件_小7探 …
此外,大数据分析技术也在不断进步,通过数据挖掘和机器学习等方法,可以从海量数据中提取有价值的信息和模式。这些技术不仅帮助企业优化运营和提升客户体验,还能揭示隐藏在数据中的商机和趋势。

DataWorks_大数据开发治理平台_阿里巴巴 …
然而,大数据的使用也带来了隐私和安全方面的挑战。不当处理大数据可能会导致用户隐私泄露,因此需要采取有效的隐私保护措施。例如,数据掩码和匿名化技术可以通过隐藏或修改数据集中的可识别属性来保护隐私。同时,使用安全通信协议如HTTPS或SSL/TLS可以确保数据在传输过程中的安全。

详细描述PKI/PMI体系,并用例子说明-请问什么叫做理论体系,简单的说 …
大数据解密不仅涉及到技术层面的加密和解密操作,还包括如何在大数据环境中进行有效的数据分析和隐私保护。随着技术的发展,这些挑战正在逐步被克服,使得大数据的应用更加广泛和安全。
免流量费下载资料----在经管之家app可以下载论坛上的所有资源,并且不额外收取下载高峰期的论坛币。
涵盖所有经管领域的优秀内容----覆盖经济、管理、金融投资、计量统计、数据分析、国贸、财会等专业的学习宝库,各类资料应有尽有。
来自五湖四海的经管达人----已经有上千万的经管人来到这里,你可以找到任何学科方向、有共同话题的朋友。
经管之家(原人大经济论坛),跨越高校的围墙,带你走进经管知识的新世界。
扫描下方二维码下载并注册APP
您可能感兴趣的文章
人气文章
2.转载的文章仅代表原创作者观点,与本站无关。其原创性以及文中陈述文字和内容未经本站证实,本站对该文以及其中全部或者部分内容、文字的真实性、完整性、及时性,不作出任何保证或承若;
3.如本站转载稿涉及版权等问题,请作者及时联系本站,我们会及时处理。



